- 500分想进好大学?这份2021志愿“捡漏”攻略必须掌握!建议收藏
- 来源:学霸说
1.广东省
广东省理科515分、排名90180的考生,“捡漏”华南农业大学,479分、132669,“捡漏”该校中外合作办学类。
2.福建省
福建省理科407分考生,“捡漏”985、211大学厦门大学马来西亚分校。要知道,厦门大学马来西亚分校归由教育部直属的厦门大学全资所有,是国家“211工程”和“985工程”重点建设的高水平大学,毕业证书及学位证书,与厦门大学本部完全一致。
福建省理科408分、85274位考生,超本科线6分,“捡漏”全国重点大学沈阳农业大学。
3.河南省
河南省理科611分、排名34290的考生,“捡漏”985、211、双一流高校中南大学。
河南省理科547分、排名106820的考生,“捡漏”西交利物浦大学。
河南省理科569分、排名78357的考生,“捡漏”扬州大学。
河南省理科572分考生,“捡漏”西南大学(荣昌校区)(211、双一流高校)。
河南省文科582分考生,“捡漏”中国石油大学(北京)(211、双一流高校)。
4.河北省
河北省理科592分、排名36906的考生,“捡漏”北京交通大学(威海校区)(211、双一流高校)。
河北省理科435分、排名172896的考生,“捡漏”北京师范大学——香港浸会大学联合国际学院。
河北省理科423分、排名182045的考生,“捡漏”西交利物浦大学。
5.江西省
江西省561分、排名27933的考生,“捡漏”山东大学(985、211、双一流高校)。
江西省546分、排名36386的考生,“捡漏”南京理工大学(211、双一流高校)。
江西省607分、排名9308的考生,“捡漏”对外经济贸易大学(211、双一流高校)。
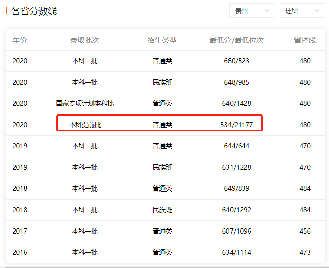
6.贵州省
贵州省534分,排名21177的考生,提前批“捡漏”北京航空航天大学(985、211、双一流高校)。
7.江苏省
江苏省文科367分考生,“捡漏”厦门大学-马来西亚分校(985、211、双一流高校)。
江苏省理科365分考生,提前批“捡漏”厦门大学马来西亚分校(985、211、双一流高校)。
安徽省理科618分考生,“捡漏”浙江大学(国家专项 985、211、双一流高校)。
9.黑龙江省
黑龙江省理科538分、排名16773的考生,“捡漏”北京工业大学(211、双一流高校)。
黑龙江省理科486分,排名29788的考生,“捡漏”北京师范大学——香港浸会大学联合国际学院。
黑龙江省理科553分考生,“捡漏”苏州大学(211、双一流高校)。
黑龙江省理科533分考生,“捡漏”北京体育学院。
黑龙江省理科543分考生,“捡漏”南京农业大学(211、双一流高校)。
黑龙江省理科544分考生,“捡漏”合肥工业大学(211、双一流高校)。
黑龙江省理科563分考生,“捡漏”东华大学(211、双一流高校)。
黑龙江省文科512分考生,“捡漏”北京林业大学(211、双一流高校)。
黑龙江省文科508分考生,“捡漏”江南大学(211、双一流高校)。
黑龙江省文科532分考生,“捡漏”西南财经大学(211、双一流高校)。
1.好大学的冷门专业
冷门专业转好专业的途径:
1.大三时就读本校的第二学士,用一年时间修满第二学士的学分,第二学士一般都是本校的较强的专业。
2.在校期间加修几门课程,考本校中自己最喜欢的研究生专业;
3.随着国家政策的变化,毕业时你的冷门专业也许变成了热门专业。
在校期间勤奋学习,两年或三年毕业后考取本校的专升本,被录取后直接上本科三年级。
3.排名靠前的非重点大学
由于中国重点大学和“211”大学的评比并没有定量、公开的标准、地域差异、院校认同度等各方面因素,因为各院校的学术水平处于动态的发展中,一些非重点大学的师资力量,重点学科、学术水平等方面已超过了一些重点大学或“211”工程大学,而判断一所大学的水平主要看其科研能力和科研成果。
4.重点大学排名靠后但学科实力较强的专业
在志愿选报中,大多数考生家长还是停留在对院校的认同度选择上,对深层次的专业问题探究较少,特别是各大学的专业学术水平,科研实力、设有国家或省级重点实验室及高校特色专业的知识知道的并不多。如果考生能避开热门,选综合排名靠后但学科排名靠前的专业,录取的机率就大大增加。
5.非重点大学排名靠前的专业
即使学校名气不大,但只要专业排名靠前,就不愁找不到好工作。
6.重点大学第一志愿招生缺档或录取分数差偏低的院校
7.名校的分校
如哈尔滨工业大学威海分校、大连理工大学盘锦校区、河海大学常州校区、山东大学威海分校,东北大学秦皇岛分校、西南交通大学峨眉校区和西南大学荣昌校区,中国地质大学(北京、武汉),中国矿业大学(北京、徐州),中国石油大学(北京、东营),华北电力大学(北京、保定)。
8.中外合作办学的院校
此种方式适合家庭条件相对宽裕的家庭。这类学校专业由于学费偏高,报考人数少,相应的录取分数偏低,相当于花钱买了一些分数。此类学校有西交利物浦大学、宁波诺丁汉大学、北京师范大学香港浸会大学联合国际学院。
9.全国唯一的特色院校
全国唯一的特色不但分数不高,而且就业比很多重点综合性大学都要好。如北京印刷学院、北京服装学院、北京物资学院、中国劳动关系学院、防灾科技学院、上海海关学院、上海立信会计学院、南京审计学院、中国计量学院等。
10.地域相对偏远的院校
如:211工程大学石河子大学、海南大学、西藏大学、云南大学等,此类院校如有考生喜欢的专业并对院校地理位置不是特别挑剔的话,也可作为目标院校。
教育
-
-
- 加拿大秋季开学面授实锤啦!最苦逼的10大专业高能预警!
- 易课培优 让海外留学变简单Easyke International Education 01 加拿大秋季最新安排,多所大选开启面授加拿大留学人最关心的问题:究竟什么时候能回学校上课?——最新进展来啦!近期,加拿大各省高校表态,秋季...
- 留学Easy客
-
-
-
- 再见了飞机!我国正式宣布,刷新世界纪录
- 1.超级高铁来了!高铁终于追上了飞机!1月13日,世界首条高温超导磁悬浮列车在中国正式下线,一个超级高铁时代终于来了!别让梦想只停留在梦里。181. A day without laughter is a day wasted. 没有笑声的
- 大国金融
-
-
-
- 一个小学校长和钉钉程序员的故事:胜利钉是如何炼成的?
- 教育领域千军万马冲数字化、智慧化但回过头来一看,真正最基础、最根本最原始的应用很多都没有落地在一天的大部分时间里,郭荣强和所有的中国小学校长一样,忙碌不停。他要管理杭州胜利小学两个校区的日常运营,...
- 中国新闻周刊
-
-
-
- 这些“大学”被摘牌,名称竟然还有点“高大上”
- 70家分支机构遍布全国多地对外宣称有文化部支持校区、校歌、毕业证书一应俱全......但这个组织是假的!4月23日,北京市民政局依法对非法社会组织“中国国学院大学”及下设“中国国学院大学国医药生命科学院”“...
- 青春湖北
-
-
-
- 刚刚!财政局补充通知!2021初级会计考试安排有变!(附准考证打印答疑)
- 哈喽大家好今日份准考证打印已开启两个省份啦接下来认真说三个重大消息1、财政部补充通知,疫苗可不打!2、新增准考证打印时间汇总+云南3、准考证打印流程及相关问题答疑一起来看,一个个儿看~~~1财政局补充通知...
- 会计帮官微
-
-
-
- 青年大学习·一起学党史:一切为了新中国,一切为了人民(附上一期学习情况)
- ✪ 安徽省“青年大学习”网上主题团课第十一季第七期开课啦!3月15日安徽省“青年大学习”网上主题团课第十一季开始推出“庆祝中国共产党成立100周年”系列精品团课第五期加强党的建设,开展整风运动网上主题团...
- 安徽共青团
-
-
-
- 您已关注公众号满1年,诚邀您加入环评人专属注册会计师备考交流群!!
- 随着关注公众号的宝宝们越来越多,我决定给大家准备一份免费福利,本来还在纠结送什么给到大家~一直到昨天,我发现后台有很多小伙伴问,有没有注册会计师学习的资源。为了回馈宝宝们,我们费了很大力气,和高途...
- 环评爱好者网
-
-
-
- Cat是猫,house是房子,那Cathouse是什么意思?
- 一看到“cat house”,你们的第一反应是不是“猫房”老外邀请你去,千万别理他1cathouse是什么意思?cathouse除了表示猫房外还有个意思表示妓院例句:It is not a hotel, but a cathouse.那不是
- 实战英语口语交流
-
-
-
- 500分想进好大学?这份2021志愿“捡漏”攻略必须掌握!建议收藏
- 高考填报志愿,出现“捡漏”,低分录取名校的现象,本属正常。2020年志愿填报,连北京师范大学、厦门大学、山东大学、北京林业大学、西安交通大学这些C9、985、211、双一流建设高校也未能幸免!012020年各省捡漏...
- 学霸说
-
-
-
- 28条英语自然拼读法基本规则和小窍门(经典收藏)
- “音标”是英语学习的第一步,你能正确发音吗?下面小E老师分享单词自然发音的28条拼读规则,快收藏备用! 01 . 字母q总是与u在一起,读做/kw/, 此处u不作元音。 02 . 字母c在字母e, y, i前读做/s/ (cent, cit
- 英语好教师
-
-
-
- 让校外培训机构不再野蛮生长
- 4月25日,北京市市场监管局发布消息,近期针对群众反映强烈的校外教育培训机构组织了专项检查,对跟谁学、学而思、新东方在线、高思四家校外教育培训机构价格违法行为,分别给予警告和50万元顶格罚款的行政处罚...
- 央视网评
-
-
-
- 俞敏洪的悲喜人生:被注射兽药麻醉,遭抢 200 万,除他之外的 6 人都死了
- 作者 | 荠麦青青来源 | 遇见荠麦青青(ID:yujianjmqq)历史往往是在曲折中前进的,但没有一个时代的蓝本不倚仗个体的故事作为涓滴成海的背景。2013 年 5 月 17 日,由陈可辛执导的《中国合伙人》上映,这部电影...
- 3W互联网深度精选
-
-
-
- 牛!全国排行,辽宁这几所学校上榜!有没有你母校?
- 2021年,最新中国大学排行榜来啦!辽宁进入前200强名单有变化!赶紧看看有没有你母校?今天,高等教育评价权威机构软科正式发布了“2021软科中国大学排名”“2021软科中国大学排名”的对象是中国1200多所本科层...
- 沈阳网
-
-
-
- 紧急提醒!需接种新冠疫苗才能参加初级和中级考试!多地区明确……
- 初级已经要求接种新冠疫苗才可以考试了!2021年全体会计考证党请注意!已经有财政局通知要求考生参加考试时需出示接种疫苗的证明方可入场参加初级会计考试!这直接关乎到我们是否能够参加考试,不管你是初级、中...
- 会计职场通
-
-
-
- 3名小学女生相约跳楼:给家长最沉痛的一课!
- 2020年9月高考优秀作文专辑9月出炉,买买买!高考第一品牌语文月刊代码46-88每月一本定价12元。其中每年8月高考优秀作文点评专辑、9月高考试题分析专辑、12月最新高考分类练习专辑、4月最高高考冲刺AB卷二...
- 语文日刊
-
